移动互联网已经进入了大众的视野之中,很多活动都是线下直接搬到线上,无论是普通商家举办报名活动,还是企业举办会议活动,主办方都期待可以通过微信公众号报名表来实现,微信报名表已经融入到了各行各业,一来省却许多的人力成本,二来也可以提高活动的举办效率,而要想实现微信线上报名活动,则离不开微信第三方活动平台的支持,那么微信公众号报名表怎么做呢,今天小编便来教您最实用的教程。

第一步:创建只需要短短的几分钟便可以将活动创建完成了。首先我们需要在微享宝报名表制作平台注册完成授权,便具备了创建活动的权限了,如下图

第二步:在左边部位寻找微互动,打开微预定万能报名表单--添加表格,商户只必须改动联系电话、位置以及地址。填写商家的一些信息,方便粉丝查看,随后在介绍和文图详尽页內容中编写微信报名表的主题及详情,高级设置当中可以设置表单的有效限制:分永久有效和有效期(有效期可以根所需时间自行进行设置)

第三步:根据需求添加微信公众号报名表格相应的组件,由于是要做微信公众号报名表,因此人们的部件內容都是搜集信息内容为主部件,例如名字、性別、手机号码、爱好特长、详细地址等信息内容提交。

第四步:背景与横幅:可以添加微信报名表横幅图片和从功能库当中添加需要跳转的内容,表单当中的图标可以根据需求自定义进行修改,包括标题栏文字、文字的大小、标题的位置和颜色等,如下图所示

以上就是微信报名表怎么做的详细步骤,可以把整个活动生成微信报名表链接或者二维码,放微信公众号莱单里做为公众号活动报名入口,让粉絲立即填写信息开展报名,在用户进行活动报名之后,可以在每个报名活动的名单中查看到所有的报名用户信息,其信息可能包含用户姓名,用户手机号,用户邮件,用户头像等等信息。我们可以方便的一键导出名单至excel表格中,在电脑中方便打开,更方便数据的统计。

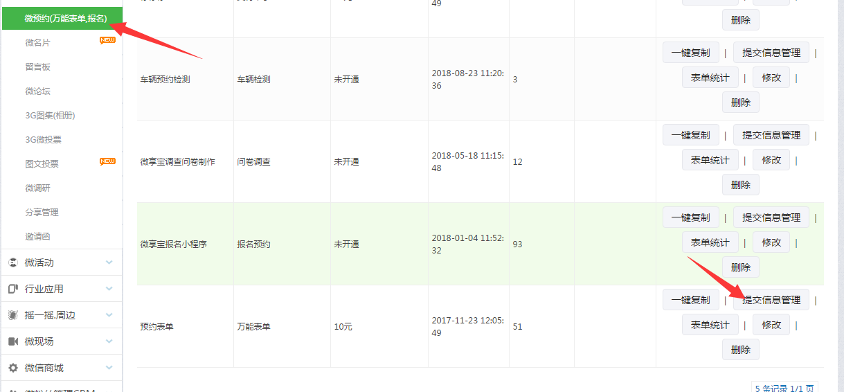
最后粉丝提交了报名,信息在哪里查看呢,点击微互动--万能表单--提交信息管理即可看到,支持导出Excel(如下图)

微信公众号报名表可以满足各种报名登记预约类的需求: 场景比如:活动报名、才艺比赛报名、聚餐出游报名、讲座公开课报名、粉丝活动报名等等,无需开发,只需简单设置即可生成个性化页面。支持企业形象宣传需求,原始数据长期保存,提升整个报名活动的的高效率