地区分三层结构例如:
大中华地区一级划分:
华东
华中
华北
西南
特别行政区
华南
-------------------------------------------------
请输入你要查看的大中华地区名字:华中
------------------包含的省名字二级:-----------------
湖北
湖南
河南
-------------------------------------------------
请输入你要查看的省名字:湖北
--------------包含的城市名三级:-------------------
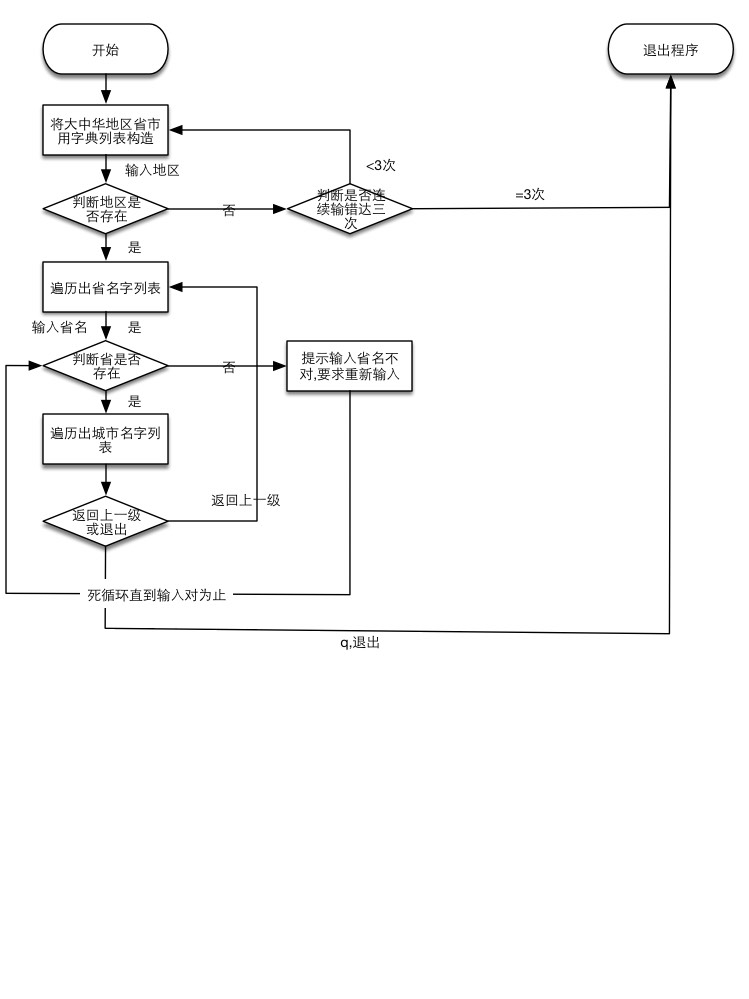
程序大概的思路和逻辑:
1 将大中华地区划用字典列表来构造,用key取省或者地市列表,用for遍历显示字典或者列表的元素
2 根据整个字典的key,得到省列表,遍历打印省的名字列表
3 设置用于跳出外循环的flag(跳出嵌套循环)
4 两层嵌套循环,外循环for指定3次固定循环,3次输入省名字错误,程序退出(在外循环for后,通过else来实现)
内循环while True是死循环,不指定次数(地市名字输入错误后,会一直要求输入,直到输入正确为止),通过break退出内循环
5 通过整个字典的key得到省列表,通过省字典的key得到地市列表,遍历打印地市的名字列表
6 判断输入的地市是否在省字典中,在的话,通过省字典的key,for遍历打印城市的名字列表不在的话,提示"输入的省名字不对,请重新输入",continue跳出当次迭代(循环),继续输入省名字还在内循环while中
7 打印城市表后,2个选择,1是退出整个程序(2个嵌套循环都退出),2是回到上一级别菜单(只需要退出内循环的当前迭代)
8 回到上一级别菜单(只退出内循环while) 判断用户输入的是否是"b",是的话,continnue 退出内循环的当前迭代,开始内循环下次迭代
9 退出整个程序(2个嵌套循环都退出) 判断用户输入的是否是"q",是的话,先将flag变成True,然后break退出while内循环
10 再做一个判断,判断flag是否是True,如果是的话,break退出for外循环,至此,退出整个程序(2个嵌套循环都退出)
流程图:

代码:
#!/user/binenv python3
# -*- coding:utf-8 -*-
'''
Created on: 2015年1月16日
@author: 吕毅
Email: 371725153@qq.com
Version: 1.0
'''
china_map ={
"华南":{
"广东":["广州市","佛山市","深圳市","东莞市"],
"广西":["南宁市","柳州市","桂林市","北海市"],
"海南":["海口市","三亚市","三沙市","儋州市"]
},
"华东":{
"上海":["黄浦区","卢湾区","徐汇区","长宁区","普陀区"],
"安徽":["合肥市","芜湖市","淮南市","马鞍山市"],
"江苏":["南京市","无锡市","徐州市","常州市","苏州市"]
},
"华北":{
"北京":["东城区","西城区","朝阳区","丰台区","石景山区","海淀区"],
"山西":["太原市","大同市","阳泉市","长治市"],
"河北":["石家庄市","唐山市","秦皇岛市","邢台市"]
},
"华中":{
"湖北":["武汉市","黄石市","十堰市","十堰市"],
"河南":["郑州市","开封市","洛阳市","平顶山市"],
"湖南":["长沙市","株洲市","衡阳市","邵阳市"]
},
"西南":{
"重庆":["万州区","涪陵区","渝中区","大渡口区"],
"四川":["成都市","自贡市","攀枝花市","德阳市"],
"贵州":["贵阳市","六盘水市","遵义市","安顺市"],
},
"特别行政区":{
"香港":["屯门","弯仔","北角","西贡"],
"澳门":["花地玛堂区","圣安多尼堂区","大堂区","望德堂区"],
},
}
print ("-------------------------------------------------")
print ("+ +")
print ("+ +")
print ("+ 欢迎来到大中华地区查询系统地 +")
print ("+ +")
print ("+ +")
print ("-------------------------------------------------")
print ("大中华地区一级划分:")
for i in china_map: #遍历字典的key,列出大中华地区的名字
print (i)
print ("-------------------------------------------------")
jump_flag = False #用于跳出外循环
for i in range(3): #外循环,指定循环3次,3次外循环完了,就退出程序
greater_china_name = input("请输入你要查看的大中华地区名字:")
if greater_china_name in china_map: #检查输入的地区是否在地图中,如果地区名字3次输入错误,程序退出
gc_name = china_map[greater_china_name]
province_name = gc_name.keys()#使用输入的信息作为key,取出省信息,存在字典中
while True: #内循环,死循环,不指定循环次数,通过break或者flag跳出
print ("------------------包含的省名字二级:-----------------") #分隔线
for i in province_name: #遍历列表,取出省名字,打印出来
print (i)
print ("-------------------------------------------------") #分隔线
sheng_name_input = input("请输入你要查看的省名字:")
if sheng_name_input in province_name: #判断输入的省名字是否在地区列表中
shi_name = china_map[greater_china_name][sheng_name_input] #取出省中有哪些市,存在列表中
print ("--------------包含的城市名三级:-------------------") #分隔线
for i in shi_name: #遍历列表,取出地区市名字,打印出来
print (i)
print ("------------------------------------------------") #分隔线
if sheng_name_input not in province_name: #如果输入的省名字不在在地区列表中
print ("输入的省名字不对,请重新输入")
continue #跳出当次迭代,开始下一次迭代循环,直到地市名字输入正确为止(不停的要求输入)
back_or_quit = input("请问是否退出?按b:Back是返回上一级菜单;按q:Exit是退出整个程序")
#显示完地区市后,就要退出程序了,一个是全部退出,一个是返回上一级菜单
if back_or_quit == "q":
jump_flag = True #用于跳出外循环
break #跳出while内循环
if back_or_quit == "b":
continue # 跳出当次迭代,开始下一次迭代循环,重新输入省处,返回上一步
print ("你输入的信息有误,请重新输入")
if jump_flag: #跳出外循环的条件满足
break #跳出外循环
else:#上面的3次for循环正常执行完毕,else才会执行,如果是不正常退出(break),else不会执行
print ("3次输入错误,程序退出")