昨天苹果公司正式收购了Beats之后,随后美国专利和商标局公布了苹果的两项新的耳机专利。专利的内容描述类似于智能化耳机设计,能感知耳机的位置而进行耳机的播放。

这两项专利名称分别为:“在降噪耳机中监测耳机位置”和“具备流媒体控制功能的电子设备和配件”。
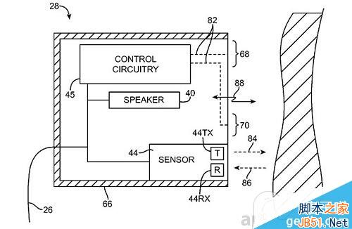
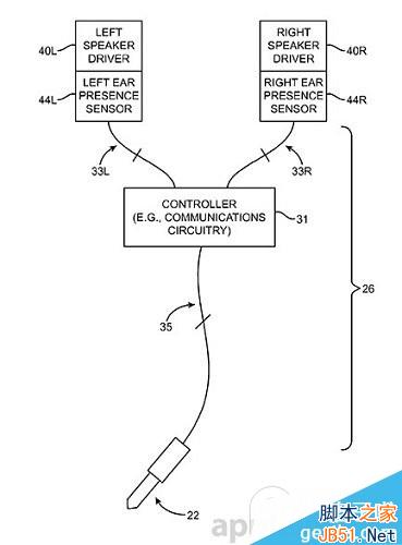
第一项专利为通过耳机减噪技术,使得传感器准确判断出用户的耳机是否已经从耳朵上移除。该技术需要多个传感器,其中包括了加速度传感器、电容式触摸传感器、超声波传感器、声学传感器和触摸传感器。上月苹果申请了一项耳机降噪专利:通过内置在耳机中的加速器和麦克风来屏蔽周围环境噪音。

第二项专利跟第一项专利相似,但是增加了一项新的功能:利用传感器控制音乐播放开关。当传感器检测出耳机已从用户耳朵上移除后,设备音乐会自动停止;当耳机又重新插入到用户耳朵时,又会自动播放流媒体音乐。

这两项耳机专利被描述为可以实现“双赢”。对于用户来说,可以在不需要播放音乐的情况下,为其节省数据流量。对于运营商来说,减少因为播放来自第三方应用的歌曲而带来的浪费的费用,对于他们也是利好的。