b站被禁言怎么办? b站被禁言的解封时间

所属分类: 软件教程 / 影音播放 阅读数: 1112
收藏 0 赞 0 分享

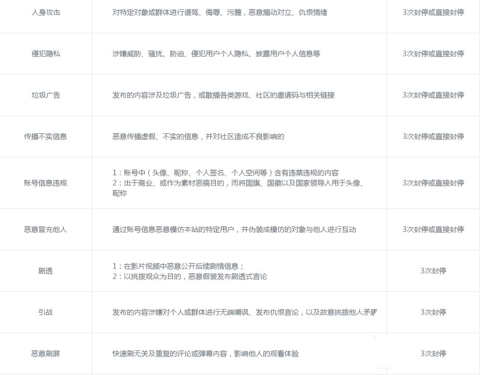
B站新规小黑屋,上线以来有很多人不知道,自己莫名就被禁言了。今天我就来和大家分享一下。

1、打开B站主业,在右上角有一个小黑屋,点击进入

2、在这里登录,会显示你的节操值和封禁次数

3、B站的禁言规则是:违规一次,封禁三日;两次,封禁七日;三次,封停。

4、所以如果你一次被封就等3天,就会自动解除。第二次被封就要等7天才能自动解除。3次这个账号就没用了,建议重新申请。

5、另外有三种会直接封停。色*情,非*法*网*站,赌*博*诈*骗。这三类会被直接封停。

相关推荐:

bilibili哔哩哔哩怎么修改昵称?

bilibili哔哩哔哩怎么重置密码?

b站怎么调节视频速度? 手机bilibili视频设置播放速度的技巧

更多精彩内容其他人还在看

WMV 许可证 DRM完美破解图文教程

经常下到一些WMV格式需要许可证的片子,实在令本人非常反感,心想:这么好看的片子不下又可惜,下了嘛看起来又麻烦,而且不一定每个时间段都能获取得“播放许可证”,由此并下决心解决此问题,碰巧在网上搜得一件宝,此宝名为“FairUse4Wm”这个真是好东
收藏 0 赞 0 分享

图像管理新选择 Ashampoo Photo Commander新版详评

Ashampoo作为知名的软件厂商,其多款软件都为大家所熟知,比如办公软件-Ashampoo Office,杀毒软件-Ashampoo AntiVirus,防火墙软件-Ashampoo FireWall Pro,系统优化工具-Ashampoo WinOptimizer,刻录软件-
收藏 0 赞 0 分享

音频 相关名词解释

【比特率】 这个词有多种翻译,比如码率等,表示经过编码(压缩)后的音频数据每秒钟需要用多少个比特来表示,而比特就是二进制里面最少的单位,要么是0,要么是1。比特率与音频压缩的关系简单的说就是比特率越高音质就越好,但编码后的文件就越大;如果比特率越少则情况刚
收藏 0 赞 0 分享

qq 影音软件的数字快捷键

QQ影音1.2版的发布为近期的国内播放器市场带来一缕清风。它提供了方便的快捷键,用数字键1~8,就可以随意地改变视频的大小。笔者根据功能将其分为两类,跟大家分享如何用数字快捷键改变QQ影音视频画面,希望让你播放更便捷。 一、数字键1-4:0.5倍、1倍、1.5倍、2倍视频大
收藏 0 赞 0 分享

酷我音乐盒升级啦 更漂亮更顺畅

酷我音乐盒一直是让音乐爱好者们津津乐道的一款音乐播放器,除了它功能强大,可以满足所有的音乐欣赏外 ,还因为它的功能更新快,几乎每个月都会发布一个新版本,提供一些或创新或有趣的新功能,所以酷我音乐 盒每次更新都成了音乐爱好者们的小节日,大家都想在第一时间试用
收藏 0 赞 0 分享

乐鱼 播放器 使用技巧全攻略

“精益求精”一直是乐鱼不断追求的目标,在发展的过程中,乐鱼也正是以这四个字为准则,为标杆,为宗旨,不断规范自己的服务,调整自己的方向,衡量自己的水平。为了能给网友们提供精细周到的服务,经过一段时间的调查钻研,乐鱼在较早前推出的片段搜索、音视频调
收藏 0 赞 0 分享

ScenicEditor 使用教程 图文

找到ScenicEditor主要是因为从朋友那借到一个PSP2000,忽然学习兴致大增,决定把以前网上下的一些英文学习资料专程psp格式,放到PSP里面看看。       格式是CFS格式的,虽然看上去很形象,但是想想转小的话右侧
收藏 0 赞 0 分享

暴风影音 开机时不自启动

暴风影音2009版有了诸多的改进,但是一开机就弹出推荐窗口,一打开暴风影音就出现暴风影视,对于只想看本地大片的人来说,这些个功能有如鸡肋,不如关掉。 打开暴风影音,在暴风影音“主菜单”里点击“高级选项”,将“全局控制
收藏 0 赞 0 分享

光影-让你的图片也非主流一把

可爱的非主流效果效果,是许多90后MM所特别喜爱的。除了平时的打扮外,使用图像处理软件来制作一个极具个性的MSN/QQ头像,也是非常不错的一种表现。本文中,小编就为大家介绍一下,使用光影魔术手的众多有趣又方便的功能,来为照片添加上无敌可爱的非主流效果。 一、添加涂
收藏 0 赞 0 分享

图片软件CorelDRAW 绘制青花瓷儿

今天我们用CorelDRAW绘制一个古色古香的瓷碗。 最终效果    
收藏 0 赞 0 分享
查看更多