1.域名解析防护
域名解析防护是alidns为用户的DNS提供的高防功能,主要是针对大流量的DDOS攻击和DNSQuery查询攻击的高防护能力。Alidns可提供最高100G防护流量,百万Q/S服务,在面对大流量DDOS攻击或DNSquery查询攻击,可以让您的网站免受攻击带来的影响。
1) 登陆阿里云账号,进入【管理控制台】
2) 选择云解析DNS
3) 选择【VIP套餐列表】
4) 选择【解析设置】
5) 选择【安全防护】-【域名解析防护】
6) 如果域名解析遭受到攻击,会在如下区域有相应的提示
7) 您可以在此处查询到7天以内您的域名解析被攻击的情况
2.网站漏洞体检
网站漏洞体检,又称网站漏洞扫描,是云解析和云盾合作,提供对网站的SQL注入、xss跨站脚本等各项高危安全漏洞进行检测,并将检测报告提供给用户的服务。
网站漏洞扫描的必要性:
及时修复漏洞,可避免网站用户受到侵害:如通过XSS等漏洞可获取访问者的身份和密码进行身份盗用,使网站用户隐私信息被泄露。
及时修复漏洞,可避免网站受到侵害:如通过XSS等漏洞设置钓鱼、挂马或通过SQL注入获取网站控制权等危害,严重损害网站安全和信誉。
进入阿里云/万网【管理控制台】,选择要扫描的域名,进入【解析管理】,选择左侧菜单中的【安全防护】,找到【网站漏洞体检】,页面如下图所示:
3.高防IP
高防IP是云解析与云盾DDos高防IP业务合作的功能。
云盾DDoS高防IP是针对互联网服务器(包括阿里云及云外)在遭受大流量的DDoS攻击后导致服务不可用的情况下,推出的付费增值服务,用户可以通过配置高防IP,将攻击流量引流到高防IP,确保源站的稳定可靠。
入口
入口:域名解析 – 安全防护 – 高防IP
点击“高防IP”,跳转到云盾管理控制台的“高防IP”列表界面;
和云解析的关联
如果用户针对域名的源IP设置了高防IP,就可以在解析列表中看到高防IP的高亮图标:
4.安骑士
云解析与安骑士业务结合,为用户提供安骑士的相关功能。
操作入口
操作
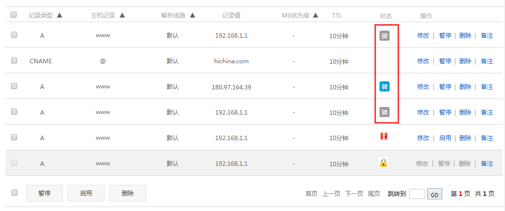
点击跳转到“云盾 – 安骑士 – 安全总览 – 域名IP”列表页面; 效果如下图所示:
针对单条A记录,如果未安装安骑士,显示安骑士未生效图标,如下图灰色图标。
针对单条A记录,如果已安装安骑士,显示安骑士已生效图标,如下图点亮图标。 
对于未安装安骑士的主机,点击图标后,跳转到如下页面: