根据已经掌握的爆料来看,iPhone 6S/iPhone 6S Plus依旧会延续现款的外观设计。但在真正的下一代iPhone上,苹果或许会找回更多经典设计元素。
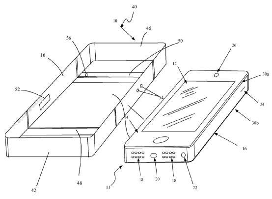
苹果的一份最新专利显示,公司正在研发一种能够使智能手机金属边框平坦有光泽同时边缘锐利的新方法。从图片上的设计风格来看,非常接近于当年大获成功的iPhone 4。
巧合的是,近日名叫Ivo Maric的艺术家在自己的Instagram账号上放出了自己将iPhone 4和iPhone 6设计风格融合到一起的iPhone 7假想图,看起来真的是美呆了。





