此前曾经传闻苹果会在下一代iPhone上采用液态金属,而现在最新公布的液态金属专利则似乎找到了一些证据。苹果又申请专利了。这公布的17个专利都与液态金属有关。这些专利显示,苹果打算让液态金属作为防拆螺丝等零部件,触控传感器(按键和开关等),当然专利更多的是在介绍,液态金属的制作工艺,并如何投入到终端产品上使用。

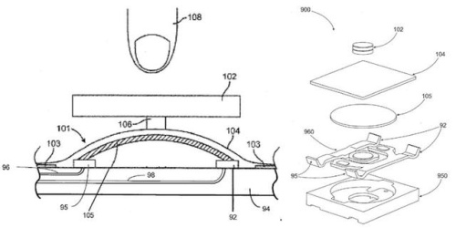
根据报道称,在此次公布的专利中包含了使用液态金属合金材料打造的压力传感器,这意味着未来的iPhone有可能会采用液态金属制成的Home键。

值得一提的是,苹果过去其实曾经在iPhone 3G中为SIM取卡针采用了Liquidmetal公司的液态金属合金材料。而从现在的情况来看,苹果除了有可能使用液态金属来打造Home键之外,这种特殊的材料还会应用到防拆螺丝之上。

根据去年12月份公布的一项专利中显示,液态金属合金将作为防拆螺丝材料,防止设备被非授权的人员拆解。同时还有同步公布的专利提到了液态金属合金将作为触控传感器的基板,其优点在于触控传感矩阵密度更高,能够有效的提升触控的准确性。
除此之外,此次曝光的专利中还提到了如何改善液态金属制作工艺等技术,包括新涂层的将会内部金属的耐用性和强度等等。虽然这些专利中的技术是否会出现在最终的产品中还是未知数,但如果苹果确实会在下一代iPhone采用更纤薄的机身设计,但为了保证足够的耐用性和强度,那么很可能在内部框架中使用液态金属材质。

因此,综合此次曝光的多项液态金属专利技术来看,苹果很可能在下一代iPhone中为部分部件采用液态金属材料,一方面可以提升部件的耐用度和可靠性,而且还能够让IOS设备变得更纤薄。iPhone 6会使用液态金属Home键吗(机身材质为液态金属现在还有些困难,只是奢望一步步实现了。)?