有时候我们在使用电脑的时候,一不小心把显示桌面的图标给删除了,怎么也找不到了,也不知道怎么恢复。但是,这个图标的功能非常实用,经常需要用到,那怎么办呢?今天我来分享几个方法教大家怎么恢复显示桌面这个图标。
第一种方法:新建文档
在桌面,鼠标右键——》新建一个文本文档,如图。

然后打开文档,在文档输入一下内容:“
[Shell]
Command=2
IconFile=explorer.exe,3
[Taskbar]
Command=ToggleDesktop
”,保存,如图。

然后,把刚刚的文本文档改名和后缀名为:“显示桌面.scf”,如图。

变成:

如果你想把它放到任务栏,直接拖过去,或者复制放到这个目录下就可以了“C:\Documents and Settings\Administrator\Application Data\Microsoft\Internet Explorer\Quick Launch”。如图所示。

第二种方法:利用软件360安全卫士或者百度电脑专家修复
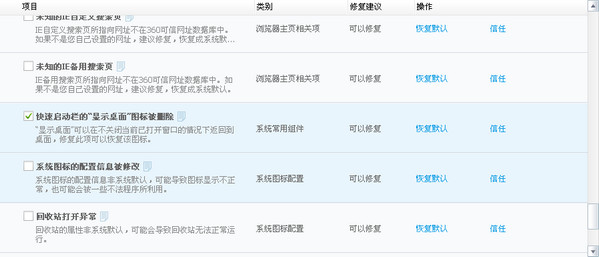
打开360安全卫士,选择系统修复——》常规修复,如图。


待其扫描后,你会发现关于恢复显示桌面图标的选项,勾选,点击立即修复,如图。

等待一会,就会修复成功,如图。你在去看看,你的显示桌面已经恢复了。

第三种最简单的方法:右击鼠标,选择工具栏-选择显示快速启动
